Apple, можливо, розглядає можливість додавання камери до своїх Apple Watch наступного покоління. Однак це буде можливо лише за умови, що це не вплине на придатність пристрою до носіння.
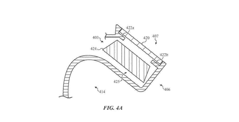
За словами азаявка на патент, Apple пропонує додати невеликий виступ у верхній частині годинника для розміщення камери. Конструкція схожа на існуючу Wristcam, але Apple шукає способи додати камеру, не роблячи годинник громіздким або незручним у носінні.
Пропонована камера матиме високу якість до 4K і 60 кадрів в секунду або фотокамеру до 12 Мп. Apple зневажливо ставиться до компонентів низької якості, оскільки вони «можуть не відповідати очікуванням користувача щодо якості». Камера призначена для різних цілей, наприклад для ідентифікації обличчя, сканування відбитків пальців, моніторингу серцевого ритму та фотографування.

Заявка на патент приписується п’ятьом винахідникам, у тому числі Крістоферу М. Ворнеру, який раніше працював над ремінцями для Apple Watch, що сприймають м’язи. Компанія шукає способи інтегрувати камеру в годинник, не впливаючи на інші компоненти, такі як дисплей, батарея та схема. Крім того, виступ камери не повинен заважати геометрії слота ремінця, щоб користувачі могли прикріплювати та від’єднувати ремінець.
Рекомендуємо прочитати:Подейкують, що Apple Car має інтегровану ОС, подібну до Tesla
Основна турбота Apple — додати нові функції до своїх продуктів, не впливаючи на взаємодію з користувачем. Поки що невідомо, коли камеру буде вбудовано в годинник Apple Watch наступного покоління, але компанія вивчає різні варіанти. Apple може збільшити розмір годинника, щоб розмістити камеру, або дослідити інші інноваційні рішення.

Компанія також може навчитися з успіху Apple Watch Ultra, який продемонстрував, що користувачі готові носити більш громіздкі пристрої, якщо вони пропонують очевидну перевагу. У випадку Apple Watch Ultra подовжений термін служби батареї є значною перевагою. Apple може дослідити подібні переваги з новою камерою, як-от можливість розблокувати всі пристрої Apple через Face ID.
Як і у випадку з іншими патентами, поданими Apple, важливо зазначити, що технологічний гігант із Купертіно щотижня подає багато заявок на нові технології, тому ми не знаємо напевно, чи буде ця конкретна технологія реалізована в майбутньому Apple Watch.
Детальніше:
- Майбутні Apple Watch можуть мати ремінці, що змінюють колір – патент
