Apple bada sposób wykorzystania wyjmowanego klawisza z klawiatury MacBooka Pro jako precyzyjnej myszy. Pomysł wykorzystania wyjmowanego klawisza jako myszy nie ma na celu zastąpienia gładzików. Zamiast tego jest oferowany jako alternatywa dla noszenia oddzielnego akcesorium z komputerem.
Wyjmowane klawisze MacBooka mogą służyć jako mysz
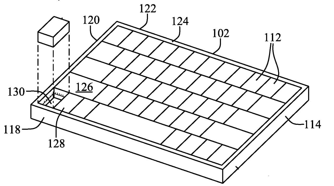
W dniu dzisiejszym Urząd Patentów i Znaków Towarowych Stanów Zjednoczonych przyznał patentnr 11 275 451do firmy Apple opisującej „mysz z wymiennymi klawiszami”. Zgłoszenie patentowe sugeruje, że zwykła klawiatura, taka jak ta w MacBooku Pro, może być wyposażona w specjalny klawisz, który można wyjmować i który może działać jak mysz.
„Wyjmowany klawisz może być wyposażony w czujnik położenia” – czytamy w zgłoszeniu patentowym – „[dzięki czemu] można go używać jako komputerowego urządzenia wskazującego… Konstrukcja wyjmowanego klawisza może zatem umożliwiać wygodne, przenośne i precyzyjne wprowadzanie danych za pomocą wskaźnika do komputerowego systemu wprowadzania danych”.
Przeczytaj więcej:Apple bada funkcję automatycznego Shazam dla słuchawek AirPods i zestawu słuchawkowego – patent

„W kolejnych latach mysz komputerowa przeszła szereg innowacji, w tym dodanie przycisku kliknięcia prawym i lewym przyciskiem myszy, kółka przewijania, czujnika optycznego, czujnika trackballa, czujnika laserowego oraz komunikacji bezprzewodowej z komputerem głównym” – kontynuuje. „W niektórych przypadkach przenośne urządzenia komputerowe, takie jak laptopy i tablety, korzystają z peryferyjnego urządzenia wejściowego myszy” – mówi Apple. „Jednak użytkownik jest wtedy obarczony koniecznością noszenia oddzielnej myszy z komputerem, a oddzielne urządzenie może okazać się zbędne, gdy komputer ma już wbudowane urządzenia wskazujące.”
Celem tego wyjmowanego klawisza nie jest wymiana gładzika. Zamiast tego byłaby to opcja dostępna dla użytkowników, którzy mogą potrzebować większej kontroli, niż tradycyjnie pozwala na to gładzik.
Ilustracje patentowe pokazują dwa sposoby usunięcia klawisza i używania go jako myszy. Jedna przedstawia odłączenie pojedynczego klawisza, a druga przedstawia sekcję klawiszy tworzących mysz. „Mysz ma zwykle ergonomiczny kształt, dzięki czemu wygodnie leży w dłoni” – czytamy w aplikacji, która podkreśla, jak urządzenia zmieniały się na przestrzeni lat. „To jeden z czynników, który utrzymuje jego rozmiar na stosunkowo stabilnym poziomie”.
Podobnie jak w przypadku innych patentów Apple Files, warto zaznaczyć, że firma co tydzień składa wiele wniosków, dlatego nie mamy pewności, czy technologia ta zostanie zaimplementowana w przyszłym urządzeniu Apple.
Przeczytaj więcej:
- W przyszłości Apple Mac może pojawić się w Magic Keyboard – patent
- Apple Glass może służyć do uzyskiwania dostępu do różnych profili i oferowania funkcji prywatności – Patent
- Apple Glass może zawierać projektor siatkówkowy do wyświetlania obrazów w źrenicach użytkowników – patent
- AirPods mogą wykrywać ruch i pozycję użytkownika podczas treningów Apple Fitness+ – patent
- Apple mógłby wymienić metalową obudowę MacBooka na szklaną lub ceramiczną – patent
- Patent Apple ujawnia całkowicie szklaną konstrukcję przyszłego iPhone'a, iPada i MacBooka
